Maite filter
旋流除砂器
免費定製方案 免費到廠考察 免費獲取報價!
產品說明:旋流除砂器被廣泛應用於化工、環保、食品、醫藥等許多工業部門,在給水處理領域實現除汙,降濁,固液分離等,效果顯著。水力旋流的工作原理及設計自100多年前就已經提出,柱形旋流除砂器就是利用這種原理,是滿足水力旋流器實現固液分離的應用實例。它是利...
榴莲视频成人APP過濾設備攜手各行業打造滿足榴莲视频污版下载需求產品的保障
旋流除砂器被廣泛應用於化工、環保、食品、醫藥等許多工業部門,在給水處理領域實現除汙,降濁,固液分離等,效果顯著。
水力旋流的工作原理及設計自100多年前就已經提出,柱形旋流除砂器就是利用這種原理,是滿足水力旋流器實現固液分離的應用實例。它是利用離心分離和力沉降的實現固液分離的水處理設備,主要用來清除地下水和包括地下熱水及其它水源中的固體顆粒,適用於水源熱泵係統,中央空調循環冷卻水,冷凍水係統,冬季冷暖循環水係統,工業冷卻循環水係統等。
設備原理:
旋流除砂器是根據離心沉降和密度差的原理,當水流在一定的壓力從除砂器進口以切向進入設備後,產生強烈的旋流運動,由於汙水密度不同,在離心力、向心浮力、流體拽力的作用下,因受力不同,從而使密度低的清水上升,有溢流口排出,密度大的汙由底部排汙口排出,從而達到除汙的目的。在一定範圍和條件下,除砂器水壓越大,除汙率越高,並可多台並聯使用。
設備特點:
1.結構簡單、成本低廉,易於安裝和操作。
2.維護費用低,維護方便,幾乎不需要維護。
3.與擴大管、緩衝箱等除汙設備相比,具有體積小、處理能力大,節省現場空間等優點。
4.可以在不間斷供水過程中清除水中的汙粒。
5.避免了其他除汙方式存在水質二次汙染的現象。
6.除汙效率高,效率高達96%以上。
7.適用範圍廣,細沙粒到大顆粒汙都能使用。
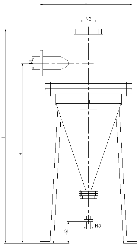
尺寸簡圖

選型參數:
型號 | 處理量 | 進水壓力 | 分離徑粒(mm) | 分離粒度 | 平均除汙率(%) | 進水口D2 | 出水口D2 | 排汙口D2 |
MCS-25×** | 20 | 0.15-0.4 | 1.5 | 30-70 | ﹥96 | 25 | 40 | 20 |
MCS-40×** | 30 | 0.15-0.4 | 2 | 40-100 | ﹥96 | 40 | 50 | 20 |
MCS-50×** | 50 | 0.15-0.4 | 3 | 40-100 | ﹥95 | 50 | 80 | 25 |
MCS-80×** | 80 | 0.15-0.4 | 3 | 40-100 | ﹥92 | 80 | 100 | 25 |
MCS-100×** | 100 | 0.15-0.4 | 6 | 50-150 | ﹥90 | 100 | 125 | 40 |
MCS-125×** | 125 | 0.15-0.4 | 10 | 74-200 | ﹥90 | 125 | 150 | 65 |
MCS-150×** | 150 | 0.15-0.4 | 10 | 74-200 | ﹥90 | 150 | 200 | 65 |
MCS-200×** | 200 | 0.15-0.4 | 16 | 74-220 | ﹥90 | 200 | 250 | 80 |
MCS-300×** | 300 | 0.15-0.4 | 16 | 80-230 | ﹥90 | 250 | 300 | 80 |

1)正常工作時,需開啟進、出水閥門、關閉排汙閥;
2)當儲汙缸在存汙到一定高度時,應排汙。排汙時打開排汙閥,直到清水流出;
3)排汙完畢後,關閉排汙閥即可;
4)如排汙壓力不足,可關閉出水處的閥門;
榴莲视频成人APP過濾設備攜手各行業打造滿足榴莲视频污版下载需求產品的保障